
Here I will present another popular piece of equipment from the communist era - the Amator radio, or more precisely the 2B version (DSS201). The Amator 2B differs from the Amator 2 in that it has no tuning indicator.
Amator 2 allowed the reception of long wave, medium wave, short wave and FM frequency ranges. The AM intermediate frequency was 465kHz and FM 10.7MHz. Details later in the diagram, and now pictures.
Front and top with the characteristic three vent inserts:


Rear:


It is also worth adding that there is a fuse hiding at the bottom of the case to be removed:

Looking inside:

Let's start perhaps with the power supply, of course there is a 50Hz mains transformer:


You can see the fuse and the separate PCB from the slide potentiometers:


PCB, isostat type buttons, tuning scale;





CEMI, UL1321, UL1601, UL1211 circuits can be seen.
Elwa electrolytic capacitors:

Tuning mechanism and bulb (incandescent, not LED) from backlight:

I really like the tuning mechanisms on these types of old radios. This is probably because I grew up with much newer equipment. Here you can see how the bulb is fixed:
Ferrite antenna:


PCB underside:



However, photos can't show everything. It's time for a bit of documentation.
Schematic of the Amator 2 stereo:

UL1321 (dual acoustic preamplifier circuit):

UL1601 (stereo signal decoder circuit):

UL1211 (AM/FM intermediate frequency amplifier):

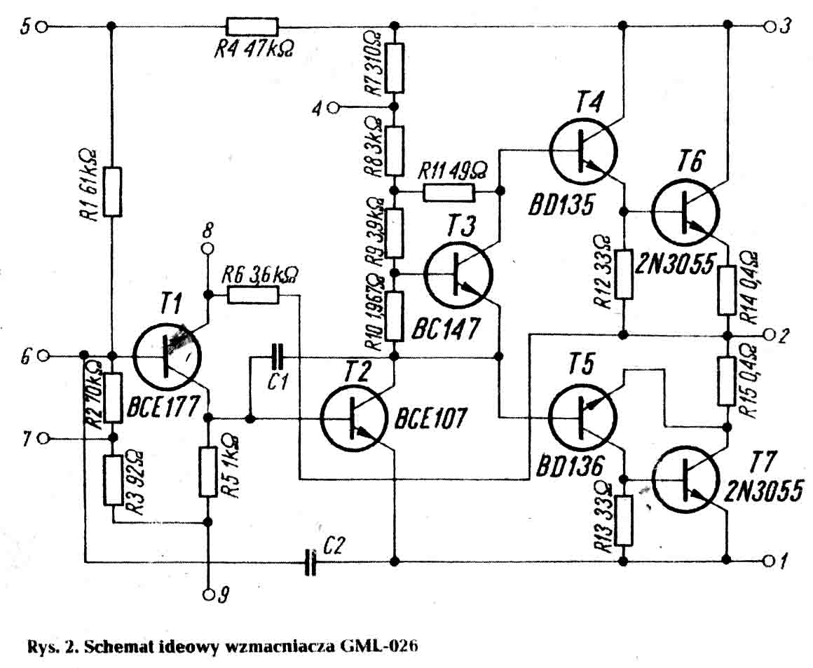
The power amplifier is based on two GML-026s. GML-026 schematic:

By the way, I see now that I didn't take a photo of them, you can only see their legs in the PCB photo, so I'll use a photo from another topic:

The photos above show a slightly different circuit, GML-026/2, but I was unable to find GML-026.
Source: https://www.elektroda.pl/rtvforum/topic1869247.html
Summary Summary
Radio potentially up and running. It's not that bad, spares are still obtainable, even GML-026, will there be a bargain for it? Well I don't know, but I'm happy to have shared another old radio with the forum. If anyone has similar specimens in their collection then feel free to post pictures.
Cool? Ranking DIY Helpful post? Buy me a coffee.